728x90
연금을 위해 투자하는 KODEX 한국부동산리츠인프라에 대해 이야기 하고자 합니다.
월배당 상품을 찾다보니 아주 리스크가 큰 커버드콜 이외에 해외 ETF 이외의 것을 찾다 보니 금리와 반대로 움직이는 리츠와 채권 중 리츠를 선택하였고
그 중에서도 월 중 배당이며 변동성이 작은 ETF를 찾은 것이 KODEX 한국 부동산리츠인프라이다.
운영 사이트는
https://www.samsungfund.com/etf/product/view.do?id=2ETFM4
Kodex 한국부동산리츠인프라 | Kodex
Kodex ETF 상품 정보를 확인해보세요.
www.samsungfund.com
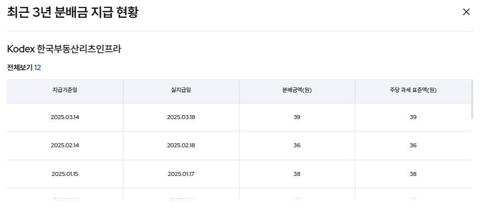
아래는 근처 월배당이다.

아래는 주식 변동 그래프이다.

위 그래프에 대한 통계적 내용은 아래와 같다.
일일 고가에 대해

일일 종가에 대해

일일 저가에 대해

일일 고가 중 50% : 4810원 / 일일 종가 중 50% : 4604원 / 일일 저가 중 50% : 4769원
따라서 4769원 이하에서 매수하였다면 매도 가능한 확률은 50% 이상 되며 4769원 ~ 4604원 사이의 주가라면 항상 매수를 고려할 수 있는 수준이다.
매도를 고민하여야 하는 수준은 1차는 (4604원 - 4810원) / 2 = -103원
2차는 (4604원 - 4810원) = -206원
728x90
'주식(STOCK) 및 연금(Passion)' 카테고리의 다른 글
| 주식 투자 기록 - 25년 6월 20일 투자 -> (6) | 2025.06.21 |
|---|---|
| 주식 분석 - 투자 심리(?) 분석 방법 접근 (3) | 2025.04.18 |
| 주식 분석 - 이런 방법도 ... ... (1) | 2025.03.09 |
| 2025년 1월 10일 개별 종목 각 가격 등락율 - 총 2041개 종목 (0) | 2025.01.11 |
| 주식 분석 - 저가 매입 평균 분석 (2) | 2024.12.30 |